[Sammelthread] LuKü Quatschthread

 
Wenn Du diese Anzeige nicht sehen willst, registriere Dich und/oder logge Dich ein.
@Raptor[TP]
Lohnt es sich die Originallüfter der TUF zu ersetzen?
Deine Aussage war vor 4 Monaten negativ. Wie ist dein gereifter Wissensstand zum Umbau der TUF heute?
 
Die Lüfter der TUF sind wirklich schon sehr gut ausgereizt.
Bzw. der Kühler hat kaum mehr Performance, egal wie man ihn belüftet.

Mit UV ist die GPU problemlos kühl zu halten. Das eigentliche Problem ist in meinen Augen der VRAM.
Man kann evtl. 1-200 rpm sparen wenn man 3x 92mm Noctuas davor klemmt. Aber so ein brachialer Unterschied wie ich ihn in der Vergangenheit verzeichnen konnte, bleibt definitiv aus.

ich glaube es hilft folgendes schon ohne groß basteln zu müssen:

- keinen Quiet Modus der Lüfter verwendet ! sondern Performance
- UV der GPU per Curve Editor um die Abwärme im gesamten etwas zu reduzieren
- Gehäuselüfter via Fan Control nach der GPU Temp steuern um möglichst für ordentliche Frischluftzufuhr zu sorgen.

FPS Lock natürlich noch und nen Kühler auf die Backplate um mehr Kühlfläche zu schauen <- letzteres ist eher so ein Gewissens Ding xD und dabei geht keine Garantie flöten.

1626086160520.png


Hab ja hier extra nochmal 10mm Rahmen von 92mm Lüfter dazwischen damit die Noctuas nicht zu laut Luft drücken xD
Ich hab es gar nicht mehr gemessen. Ich könnte mal schauen welche RPM ich beim zocken jetzt erreiche. Denke so um die 1200-1300rpm.

Mein Ziel ist ja die VRAM Temp möglichst kühl zu halten.
Wenn das Update für Fan Control kommt das eben auch VRAM Temp auslesbar ist, versuche ich damit die Temp auf 76-78°C zu halten.

Mehr wird wohl nicht drin sein ohne groß rumzuschnitzen.
 
Du hast unter den Lüftern zusätzliche Lüfter??!
3x Noctua NF-A9 PWM chromax.Black.swap über
3x Noctua NF-A9x14 HS-PWM chromax.Black.swap
in etwa so? OMEGALOL
 
Nee - ich hab mir aus 3 billig Lüftern die 10mm Höhe haben quasi nur "Leer"Rahmen für die Noctua NF-A9 PWM gebastelt ;)

Hatte es einfach übernommen weil ich hier ordentliche Verwirbelungen hatte durch die Stege der Slotblenden im Heck des Gehäuses:

1626088903752.png


Der eine Lüfter musste dran glauben <--- nur damit ich Abstand gewinne aber trotzdem die Luft im gleichen Tempo anziehen kann.
Ist alles etwas ausgeufert, muss ich zugeben xD
 
Check, ich werde mir die Lüfter bestellen!
Noctua NF-A9 PWM chromax.Black.swap

ahahahahaha

Die einzige Schwäche der TUF ist natürlich ihr VRAM. Im Sommer ist unter Luft an Mining nicht zu denken, bei über 100c. Im Winter lief die stabil zwischen 88-94c 3-4-5-6 Monate 24/7 am Stück durch @2379RPM Hat ihr aber kein Stück geschadet. Selbst die Lüfter sind wie neu, wohl ohne Verschleiß, weil gleich laut. Ich hätte sie nur gerne dauerhaft unter 90c die nächste Season. Dafür darf sie auch ruhig lauter sein...
Beitrag automatisch zusammengeführt:

Gehäuselüfter via Fan Control nach der GPU Temp steuern um möglichst für ordentliche Frischluftzufuhr zu sorgen.
Oder ein Temp-Sensor zwischen dem CPU-Kühler und Gehäuselüfter OUT genau in der Mitte anbringen. Damit halte ich Gehäusetemp bei/unter 32c. Funktioniert ganz gut soweit. Über 38c komme ich nur in heißen Sommertagen mit MFS2020, sonst um die 36c.

BIOS nach T_Sensor
<= 32c 26%
> 38c 40%
> 42c 60%
 
Zuletzt bearbeitet:
Zum Thema Mining habe ich nichts zu sagen und möchte mich hier ausdrücklich distanzieren.

Ich gehöre zu den Gamern !!

Diese Graka hat noch nie irgend eine Mining SW gesehen.
 
VRAM kühlen kann ich vergessen mit NH-D15. Da ist vllt. 1mm Abstand zur GPU....
vram.jpg
 
Hallo in die Runde.

Ich würde gerne einen AMD Ryzen 5600 möglichst leise kühlen. Ein neues Gehäuse soll zudem auch direkt her. Mein aktuelles (altes) System steckt noch in einem 08/15 Billiggehäuse und verbleibt auch dort. Soll/Muss ich hier einen Beratungsthread erstellen?

Preis technisch habe ich mir keine Grenze gesetzt. Wegen - 2 °C aber +100€ auszugeben möchte ich dann auch nicht.

Gruß
 
VRAM kühlen kann ich vergessen mit NH-D15. Da ist vllt. 1mm Abstand zur GPU....
da sollte der Luftstrom der 2 Lüfter vom Noctua eigentlich reichen.
ich bin ja wieder so verrückt und lass den Zero Fan Mode meiner Karte an. :d
 
ich bin ja wieder so verrückt und lass den Zero Fan Mode meiner Karte an. :d

Du bist verrückt - wenn auch "nur" GDDR6 ... das ist, in Bezug auf die Temps des VRAMs, eher der Neid der aus mir spricht xD

Hab mir aus den Gründen (kein Platz zur Graka) den kleineren Noctua eingebaut.

der Kühler hat sogar quasi genau den gleichen Abstand.

schööön asymmetrisch:

1626187071309.png


von denen gibt es viel viel zu wenig ! :)


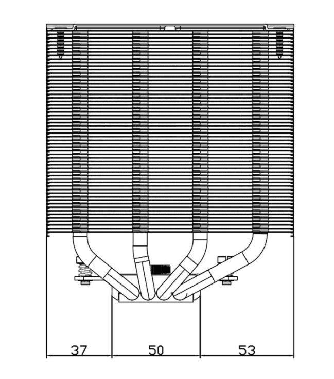
Mitte CPU -> Richtung GPU:

Thermalright Frost Spirit 140 = 37mm + (50mm:2) = 62mm
Noctua NH-U12S = 125mm : 2 = 62,5mm

u see ? :)

1626187234829.png


Wenn mir der Frost Freezer 140 mal in die Hände fallen sollte ;)
Wer weiß - der Unterschied ist echt sehr gering - dafür ist der Noctua eben echt super kompakt.
Da ich ihn mit 2 Lüftern nutze, dürfte es wohl gar keinen Unterschied mehr geben.

1626187377535.png
 
Du bist verrückt - wenn auch "nur" GDDR6 ... das ist, in Bezug auf die Temps des VRAMs, eher der Neid der aus mir spricht xD
na die Karte wurde doch dafür konzipiert, also sollte man das auch so nutzen ^^
Hab zwar, wenn ich dann nen paar Stunden Twitch schau, auch um die 55° GPU und 10° mehr auf dem VRam, aber wenn man sich daran nicht "festbeißt"... ^^
Ich werd zu 90° auch bei WQHD 60Hz bleiben, da brauch ich dann das Stepup nicht machen, obwohl die 3080 FTW schon die geilere Karte wär.
Aber die neue Wohnung ist wichtiger.
 
Isso ! Es gibt wichtigeres.
Könnte auch noch mehr ins Hobby stecken, sehe da dann aber doch keinen sinn.

Die Arctic P12 aufm Noctua sind gefühlt leiser - aaaber es ist auch kein Phanteks Halo ARGB Rahmen mehr drauf ... also ... ich war zu faul zu messen und das genau zu prüfen ... wenn ich ehrlich bin xD

Zum Thema fest beißen und VRAM Temps: Wer ? was ich ? ,.. neeee, du musst mich mit jemanden verwechseln 😅😅😅😅

1626188594323.png
 
jo, zwar wären die 156€ Kosten stemmbar (wenn es dabei bleibt), aber brauchen tu ich es nicht wirklich.
Mal sehen, wann es überhaupt so weit ist, bis ich dran bin. Wart ja erst seit Januar. xD
 
Ahh als Stepup oder wie das heißt ?

Das ist natürlich nicht schlecht und wirklich nicht too much.
 
Hallo in die Runde.

Ich würde gerne einen AMD Ryzen 5600 möglichst leise kühlen. Ein neues Gehäuse soll zudem auch direkt her. Mein aktuelles (altes) System steckt noch in einem 08/15 Billiggehäuse und verbleibt auch dort. Soll/Muss ich hier einen Beratungsthread erstellen?

Preis technisch habe ich mir keine Grenze gesetzt. Wegen - 2 °C aber +100€ auszugeben möchte ich dann auch nicht.

Gruß

Ich werfe einfach mal ein paar Kühler in den Raum, die gut Leistung haben und in vielen Ohren als leise gelten. Die Qual der Wahl bleibt bei dir.



Etwas günstiger:



Mugen gibt es auch in Schwarz, was sehr cool aussieht.


Und Premium:


Weißt du schon welches Gehäuse es wird. Mir ist bisher kein Gehäuse untergekommen, bei dem er nicht passt, aber sicher ist sicher. Außerdem solltest du immer auf die RAM-Höhe achten.
 
Ich werfe einfach mal ein paar Kühler in den Raum, die gut Leistung haben und in vielen Ohren als leise gelten. Die Qual der Wahl bleibt bei dir.


Und Premium:


Weißt du schon welches Gehäuse es wird. Mir ist bisher kein Gehäuse untergekommen, bei dem er nicht passt, aber sicher ist sicher. Außerdem solltest du immer auf die RAM-Höhe achten.

Vielen Dank. Den Noctua habe ich mir auch schon angeschaut, der gefällt mir.

Gehäuse: Ich denke, es wird wohl was von Fractal Design oder Lian Li. Das Corsair Obsidian 1000D gefällt mir sehr gut aber 500€+ sprengen den Rahmen.
Eigentlich bräuchte ich keinen Big Tower. Es würde ja theoretisch ein Midi oder gar einer der Compact Reihe von Fractal Design reichen.
Ich möchte allerdings keine Abstriche an der Grafikkarte machen. In das Gehäuse soll einfach jede Länge reingehen und auch das längere Netzteil aufnehmen können.
AMD Ryzen 5600
RTX 3080 (Ti)
NVMe M.2 970 EVO Plus
G.Skill TridentZ RGB 2x16
MSI Mag Tomahawk x570
EVGA 850 W Supernova G2 (Achtung Überlänge)

Gruß
 
G.Skill TridentZ RGB 2x16
Hier wird etwas schwer mit dem NH-D15. Den zweiten 14mm Lüfter würdest du vermutlich nicht mehr drauf bekommen. Du hättest hier zwei Optionen, einen anderen 120mm Lüfter kaufen und drauf tun (dann siehst du aber nichts mehr von deinem RGB) oder den Lüfter über dem RAM ganz weg lassen. Für die zweite Option gibt es auch diesen hier:

Dritte Option: anderer RAM ;)

In meinen Augen lohnt es aber nicht wegen den 4 € die S Variante zu nehmen. Der Lüfter alleine kostet deutlich mehr. Ich würde weiterhin beim NH-D15 ohne S bleiben.
 
Ich denke, es wird wohl was von Fractal Design oder Lian Li
Gute Wahl, auch zum Referenzkühler NH-D15l!
Mit Lian Li kenne ich mich überhaupt nicht aus, dafür mit FD. Nach langem Suchen landete ich letztes Jahr bei Meshify S2, nachträglich empfinde ich es als zu lang. Sonst hat es perfekte Höhe und super breite für LuKü.
Das neue Meshify 2 ist leider noch länger und noch höher, bringt dafür _vielleicht_ bessere Kühlergebnisse.
Das neue Meshify 2 Compact Link1 Link2 ist möglicherweise ideal (falls NH-D15 darin Platz findet)

Meshify S2538 x 233 x 465 mm
Meshify 2542 x 240 x 474 mm
Meshify 2 Compact412 x 210 x 455 mm
 
Das Meshify sagt mir jetzt nicht so zu. Aussehen gefällt mir nicht ganz so gut.

Da muss ich am Wochenende mal genau recherchieren und vergleichen. MSI hat auch ein paar schöne Gehäuse. Da habe ich aber noch gar nichts zu gelesen. Keine Ahnung wie da die Qualität so ist.

Laut Test macht der Wegfall von einem Lüfter beim noctua 2 Grad aus. Die Lautstärke soll allerdings auch ein wenig sinken.

Gruß und danke
 
Falls man sich hübschen RGB RAM holt - muss der Lüfter vorne sowieso weichen xD

Bevor du jetzt mit der Lautstärke von NH-D15 zu NH-D15S anfängst, solltest du erst mal schauen wie das restliche System aussehen wird ;)
Gerade bei Gaming Last dürfte es wohl eher die Graka sein um die man sich sorgen solltest.

IDLE kann ja jeder ;)
 
Zuletzt bearbeitet:
jo. Das lauteste wird die Gpu beim zocken.
Da hilft dann Undervolting oder die Begrenzung auf 60fps ^^
Bei Ampere kann man mit Uv schon einiges rausholen.
 
Ne ne alles gut. Wollte das nur der Vollständigkeit halber geschrieben haben. Lautstärke ist jetzt nicht unbedingt Prio. Mal so ganz nebenbei... Ich weiß, hier sind wir bei der lukü... Aber wie verhält es sich denn so mit einer 360er AiO Kühlung für die CPU wenn man den NH-D15 damit vergleicht. Lautstärke mal nicht beachtet. Geht rein um die Kuhlleistung.

Gruß
 
Da mein 3930k auf dem Rampage IV Formula demnächst in mein luftgekühltes Zweitsystem umzieht bin ich auf der Suche nach einem passenden CPU Kühler.

Im Gehäuse ist nicht super viel Platz, deshalb überlege ich den Noctua NH-U12A zu nehmen, allerdings hab ich Bedenken dass es mit dem RAM eng wird.
Auf dem Board sind 4x Corsair Dominator Platinum verbaut die recht hoch bauen und bei Sockel 2011 auf beiden Seiten des Sockels sitzen.

Kann mir jemand sagen wie viel Platz der Kühler um den Sockel braucht, wie es mit der RAM Höhe bestellt ist oder hat die Kombi evtl sogar mal gebaut?
 

Dort hab ich den Kühler getestet :)
Da komm ich nicht an den RAM Riegel.

Soll heißen: dürfte garnicht stören.
Wechles Board ? ahhh ok gesehen.

Also hier passt es (X79 Board)

Mess doch einfach von inneren RAM Slot L zu R :)
 
kann ich mir nicht vorstellen, dass es mit dem U12A beim Ram eng wird. Halt, du meinst sicher hinterm Kühler? Dann lass den hinteren Lüfter weg.
Und es stimmt wirklich, auch mit einem Lüfter kühlt der hervorragend.
 
Sieht so aus als wäre da tatsächlich noch minimal lohnt Luft auf dem ASRock X79 Board.
Das Rampage IV Formula hat ja statt 8 nur 4 DIMM Slots, da sollte der Platz nicht weniger sein.
Laut Noctua sind Board und Kühler ebenfalls kompatibel, nur steht da nichts vom RAM.
Flache Standardmodule sind sicher kein Thema aber die Dominator Platinum sind eben sehr hoch.

Ich werde es wohl einfach mal riskieren, danke euch!
 
?

du nimmst ein Zollstock/Lineal in die Hand und schaust ob du 45 + (2x25mm) dazwischen hast.
Wenn das mittig ist, brauchste da kein Risiko eingehen ;) und weißt ob auch eine Doppelbelüftung möglich ist.
 
Hardwareluxx setzt keine externen Werbe- und Tracking-Cookies ein. Auf unserer Webseite finden Sie nur noch Cookies nach berechtigtem Interesse (Art. 6 Abs. 1 Satz 1 lit. f DSGVO) oder eigene funktionelle Cookies. Durch die Nutzung unserer Webseite erklären Sie sich damit einverstanden, dass wir diese Cookies setzen. Mehr Informationen und Möglichkeiten zur Einstellung unserer Cookies finden Sie in unserer Datenschutzerklärung.


Zurück
Oben Unten refresh