Ich wärme hier mal auf, es gibt Neues.
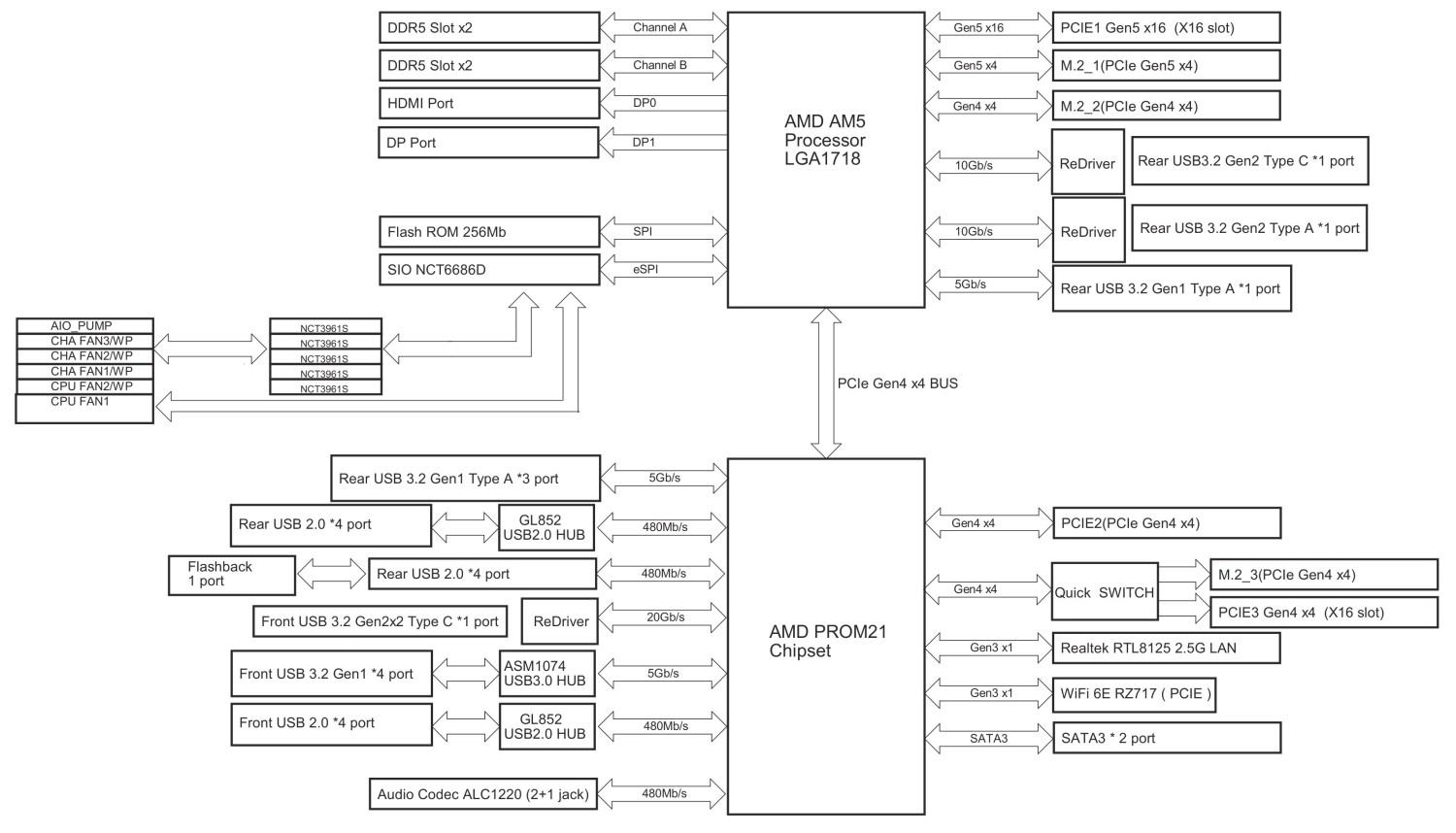
Und zwar können die neuen Asrock B850 Bretter nun offenbar ECC, zu testen wäre es noch, Geizhals listet das aber so, im Manual steht es ebenfalls und bei AM4 hat das funktioniert wenns im Manual gestanden ist. Ich gehe also davon aus, dass wir hier ECC bekommen.
✔ Preisvergleich für ASRock B850 LiveMixer WiFi ✔ Bewertungen ✔ Produktinfo ⇒ Formfaktor: ATX • Sockel: AMD AM5 • Chipsatz: AMD B850 • CPU-Kompatibilität: Ryzen 7000 , Ryzen 8000G , R… ✔ Mainboards ✔ Testberichte ✔ Günstig kaufen
geizhals.at
Um 200€ gibts ein B850 Brett, dem ich eine gewisse Sparsamkeit gegenüber X670/870(E) vorhersagen würde.
2x M.2 (1x 5.0/ 1x 4.0) auf der CPU
1x PCIe 5.0x16 CPU, Bifuricaton müsste man checken, wenn alle AMD üblichen Kombinationen (speziell x8x4x4 / x4x4x4x4) gehen, wäre das super.
1x M.2 am Chipset (bzw 2x mit dem shared)
2x PCIe 4.0x4 (im x16 mech. Slot) am Mainboard (oder 1x PCIe und 1x M.2, einer der Slots ist geshared)
2,5 Gbit Realtek ist besser als sein Ruf

(Bildquelle Geizhals.at)
Zu checken wäre halt noch, ob die IMMOU Verteilung taugt.
Etwas meh ist, dass die beiden PCIe 4.0x4 Slots auf der Southbridge hängen, sich also die PCIe 4.0x4 Chipsetanbindung zur CPU teilen. Für unsere Home-User-Tätigkeiten sollte da aber ausreichend sein, ein großer HBA sollte trotzdem eine 10gbit NIC auslasten können mit dieser Bandbreite.
Ob man mit dem USB etwas macht oder nicht, ist ein anderes Thema. USB imho erstaunlich gut für Passthrough auf Proxmox geeignet, die C-Stecker sind auch gar nicht so schlecht. Imho könnte man damit schon eine SSD, NIC oder so an eine VM geben.
=> Insgesamt interessant, da die Zen 4/5 CPUs ja eine iGPU haben und ECC können. Mit nem NanoKVM dran wird daraus eine runde Sache und man ist auch das fehlende IPMI los (ist nicht ganz das gleiche, für daheim aber allemal gut).
Man würde also ein System bekommen mit:
- 6-16 Zen 4/5 Cores (ausreichend VRM für alles, PBO / CO etc. sollte ja alles verfügbar sein auf dem Brett)
- DDR5 UDIMM ECC (leider recht teuer) 96gb zuverlässig, Vollbestückung müsste man halt etwas austesten
- bis 7x M.2 (6x an der CPU mit ner Hyper-Card, 1x Chipset)
- 2x PCIe 4.0x4 (x16) für ne dicke NIC + HBA (9400-16i sind leistbar und sparsam)
Ich denke, das Live-Mixer ist eine tolle Basis um einen Homeserver mit richtig Power zu bauen, der auch von den Schnittstellen und Features her nicht so beschränkt ist.
Ich selbst benötige die Leistung gar nicht und bin mit dem 5750G / 128gb RAM noch überversorgt und muss erstmal die Software so hinbekommen, wie ich will... Hardwarelimit hab ich keins.
Wenn jemand gerade überlegt einen etwas leistungsfähigeren AM5 Server zu bauen, wäre das imho ein interessantes Konzept...
... vielleicht ist mein Brainstorming-Output hier ja für jemanden nützlich.